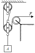
如图用5N的力F匀速提升物体,6s内绳子自由端移动了0.6m。下列说法正确的是( )

【答案】C
【解答】
【点评】
声明:本试题解析著作权属菁优网所有,未经书面同意,不得复制发布。
发布:2024/5/23 20:38:36组卷:70引用:2难度:0.5
相似题
-
1.甲、乙两人从一楼到三楼进行爬楼梯比赛,已知甲、乙两人体重之比为6:5,所用时间之比为10:9,则甲、乙两人爬楼梯功率之比是( )
发布:2025/10/14 13:30:1组卷:168引用:2难度:0.7 -
2.甲乙功率相同的两辆汽车,如果在相同时间内匀速通过距离之比为s甲:s乙=2:5,那么两辆汽车的牵引力之比为
,两辆汽车做的功之比为。发布:2025/10/14 17:0:1组卷:741引用:6难度:0.5 -
3.如图是用滑轮组提升物体A的示意图,物体A的重力为100N,每个滑轮重20N。在匀速竖直提升物体A的过程中,物体A上升的速度大小为0.4m/s,绳重及摩擦均忽略不计。则绳子自由端的拉力F=N;拉力F做功的功率P=W。发布:2025/10/14 14:0:6组卷:67引用:3难度:0.7

