如图所示的实验中不能用流体压强与流速关系来解释的是( )
【考点】流体压强与流速的关系.
【答案】B
【解答】
【点评】
声明:本试题解析著作权属菁优网所有,未经书面同意,不得复制发布。
发布:2024/6/8 8:0:9组卷:55引用:2难度:0.8
相似题
-
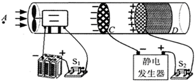
1.PM2.5是大气中直径小于等于2.5μm,能被肺泡吸收并进入血液。常州大学的科研队伍成功研制出PM2.5净化器,其原理如图所示。闭合开关S1、S2后,风扇旋转吸入空气,气流外侧A处的颗粒物也被吸入净化器,这是因为气流处流速大导致压强的缘故。颗粒物接近带有负电荷的光洁金属网C时受到强烈的吸引力,这是因为,但很快又受到光洁金属网C对它的斥力,这又是因为。离开金属网C后,颗粒物被带有正电荷的棉芯D牢牢吸引,这是因为。
发布:2025/10/14 13:0:1组卷:26引用:2难度:0.5 -
2.小明用气球做了以下三个实验。如图-1,吹风机在工作时,进风口能“吸”住气球,是利用了气球上方空气流速大,压强 。如图-2,气球放在热水烫过的玻璃瓶口,过一会在 的作用下被“吸”入瓶中。如图-3,在头发上摩擦过的气球靠近细水流,水流偏离竖直方向,是因为该气球带了 ,对细水流产生了吸引力。
发布:2025/10/14 15:0:2组卷:380引用:3难度:0.5 -
3.某新建的广场喷泉引起了同学们的好奇:喷水时,“泉水”中央有一颗硕大的石球不停地翻滚。这是怎么回事?同学们有种种猜测。小玲联想所学知识,意识到这个问题可能跟“流体压强与流速的关系”等方面的知识有关,她与同学们反复讨论,设计了一个模拟实验并获得了成功。
实验器材:圆珠笔杆、乒乓球、软管、自来水等。
实验步骤:取圆珠笔杆作为喷管,通过软管接于自来水龙头上;打开龙头,自来水从笔杆尖端竖直向上喷出水束。将乒乓球放到水束上方,观察乒乓球的情况。观察结果:多次实验表明,乒乓球能稳定在水束上方旋转。
分析讨论:
(1)球能稳定在水束上方某一位置,是因为它在竖直方向受到作用的缘故;球在水束上方旋转,是由于水对球左右两侧向上的推力不相等所造成的,从图(b)中球的旋转情况看,此时水束对球左侧向上的推力右侧(选填“大于”或“小于”);根据你的思考,在多次实验中,每次乒乓球旋转的方向(选填“一定相同”“一定不同”或“不一定相同”)。
(2)如图(b),水束略偏左,球为什么没有向右远离而下落呢?这是因为,左侧水的流速大于右侧水的流速,导致左侧水的压强右侧水的压强(选填“大于”“等于”或“小于”)使球在水平方向能维持平衡。发布:2025/10/14 16:0:1组卷:144引用:3难度:0.5

