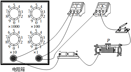
实验小组利用如图所示的电路探究“电流与电阻的关系”。选择的实验器材有:电源电压恒为3V、电流表、电压表、开关、电阻箱、滑动变阻器(规格为“20Ω 2A”)。实验过程中,若保持电压表示数为2V不变,则下列说法中正确的是( )

【考点】探究电流与电阻的关系.
【答案】D
【解答】
【点评】
声明:本试题解析著作权属菁优网所有,未经书面同意,不得复制发布。
发布:2025/9/19 18:30:1组卷:278引用:2难度:0.3
相似题
-
1.如图所示是“探究通过导体的电流与电压、电阻的关系”实验的电路图,所用实验器材是:电源(6V)、电流表(0~0.6A)、电压表(0~3V)、电阻箱(0~999.9Ω)、滑动变阻器(40Ω、2A)、开关、导线若干。
(1)探究电流与电压的关系时,所测得的几组电流、电压值见表1,分析表中数据可知:电阻箱接入电路的阻值为Ω;当导体一定时,通过导体的电流与导体两端的电压成关系。
(2)探究电流与电阻的关系时,应调节改变接入电路中的阻值,并调节使电压表的示数保持相同,读出电流值,所测得几组数据见表2,分析表中数据可知:电阻箱两端的电压为V,当导体两端电压一定时,通过导体的电流与导体的电阻成关系。
表一
表二实验序号 电压U/V 电流I/A 1 1.0 0.20 2 1.5 0.30 3 2.0 0.40 实验序号 电阻R/Ω 电流I/A 1 5 0.40 2 10 0.20 3 20 0.10 发布:2026/1/30 17:0:2组卷:36引用:4难度:0.5 -
2.【探究名称】探究欧姆定律
【猜想与假设】导体中的电流可能与导体两端的电压成正比,与导体的电阻成反比
【设计并进行实验】
(1)探究导体中的电流跟它两端电压的关系
①如图1所示,请您用笔画线代替导线把滑动变阻器正确接入电路中,要求:滑片P向右移动时电流表示数逐渐增大。
②此实验中,滑动变阻器的作用是和。
③…
(2)小英同学探究“导体中的电流与电阻的关系”时,进行创新实验,除了与原有实验所必须的器材相同外,没领电压表,而是多领了一只电流表,并设计出如图2所示的电路图,进行实验。
①连接电路,调节滑动变阻器,读出电流表A1与A2的示数分别记为I1和I2;
②把定值电阻R2换成R3,调节滑动变阻器使电流表A1的示数为,使R3两端的不变。记录此时电流表A2的示数为I3;
③把定值电阻R3换成R4,重复上一步骤进行实验;
④分析数据得出电流与电阻的关系。发布:2026/1/30 13:30:1组卷:43引用:1难度:0.3 -
3.在探究“电流与电阻的关系”实验中。

(1)连接电路时,开关应当。
(2)小新将实物连接成如图1所示电路,其中有一处连线错误,请你在连接错误的导线上画“×”并改正。
(3)将电路连接正确后,闭合开关,移动滑动变阻器滑片P,使定值电阻R两端电压为2V,电流表示数如图2所示,为A,则R的阻值为Ω。
(4)换上10Ω的电阻后,闭合开关,电压表示数将(选填“变大”或“变小”),此时应将滑片P向(选填“A”或“B”)端移动,使电阻两端电压为V。
(5)小芳同学正确连接电路后,闭合开关,移动滑动变阻器滑片,发现电流表无示数,电压表有示数,其原因可能是。发布:2026/1/30 13:0:1组卷:333引用:59难度:0.3

