如图所示,在一个配有活塞的厚玻璃筒里放一小团硝化棉,迅速压下活塞,观察到硝化棉燃烧起来。在下压活塞的过程中,下列说法正确的是( )
【考点】做功改变物体的内能.
【答案】A
【解答】
【点评】
声明:本试题解析著作权属菁优网所有,未经书面同意,不得复制发布。
发布:2024/5/17 8:0:8组卷:814引用:3难度:0.8
相似题
-
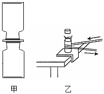
1.小明在实验室做以下两个热学实验。
(1)如图甲所示,其中一个瓶子装有密度比空气大的红棕色二氧化氮气体,另一个装有空气。
演示扩散现象时应该把装有二氧化氮气体的瓶子放在(选填“上”或“下”)方,这样做的目的是。
(2)如图乙所示,用绳子摩擦铜管使管内乙醚沸腾,蒸汽冲起软木塞,铜管口出现“白气”。这是由于气体对外做功,内能(选填“增大”或“减小”),温度降低,发生液化现象,冲起软木塞过程中的能量转化情况与汽油机的冲程能量转化情况相似。发布:2025/10/14 17:0:1组卷:110引用:3难度:0.6 -
2.下列生活实例中,属于做功改变物体内能的是( )
发布:2025/10/14 17:0:1组卷:47引用:1难度:0.6 -
3.下列实例中,改变物体内能的方式与其它三个不同的是( )
发布:2025/10/14 16:30:1组卷:2157引用:72难度:0.9

