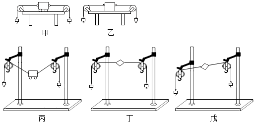
如图所示,在“探究二力平衡的条件”实验中。

(1)为了减小摩擦对实验的影响,小明先后设计了如图甲、乙、丙、丁所示的四个实验方案,请你判断出她改进的先后顺序是:乙、甲、丙、丁乙、甲、丙、丁,其中在如图乙所示的方案中,当木块静止时左右两边所受的拉力 可能可能相等(选填“可能”或“一定”);
(2)如图丁所示是她最终确认的实验方案,若卡片的重力对实验造成了影响,主要影响的是二力平衡条件中力的 方向方向(选填“大小”或“方向”);
(3)实验中通过调整钩码个数来改变拉力的 大小大小,松手后观察 释放瞬间释放瞬间(选填“释放瞬间”或“最终”)小卡片能否平衡;
(4)为了探究只有作用在同一直线的两个力才能平衡,小兰将卡片转过一个角度,松手后卡片 不能不能平衡,小洋也对同一问题进行了探究,但他在左右支架上配两个滑轮时没有安装在相同的高度(如图戊所示),你认为能否用小洋的装置进行实验 能能(两空均选填“能”或“不能”)。
【答案】乙、甲、丙、丁;可能;方向;大小;释放瞬间;不能;能
【解答】
【点评】
声明:本试题解析著作权属菁优网所有,未经书面同意,不得复制发布。
发布:2025/9/26 5:30:3组卷:200引用:6难度:0.8
相似题
-
1.在探究“二力平衡条件”的实验中,同学们设计了如图的实验装置,其中A为小车,B为木块,C为小卡片。

(1)同学们不断改进并先后设计了图甲、乙、丙所示三个方案,他们改进的先后顺序为 (用甲、乙、丙表示),这样改进是为了减小 对实验的影响;
(2)实验中应选择轻质小卡片,卡片的 可忽略不计;
(3)实验中通过改变钩码的 来改变拉力,从而探究二力平衡时力的大小关系;
(4)同学们用图丙所示的装置进行实验时,将小卡片转过一个角度(如图丁所示),松手后卡片 (能/不能)平衡,这样做是为了说明二力平衡时两个力应作用在 上。发布:2024/8/4 8:0:9组卷:12引用:1难度:0.6 -
2.在探究“二力平衡的条件”的实验中,某同学采用的实验装置如图所示:
(1)当物体处于静止状态或 状态时我们认为它受到的力是相互平衡的;
(2)实验时,小明发现当向左盘和右盘同时放入相等质量的砝码时,木块处于静止状态。此时木块在水平方向受到两个力的作用,这两个力是平衡的。当小明把右盘中的砝码换成一个质量大一些的砝码时,发现木块仍然处于静止状态,出现这种现象的原因是 ,这时木块在水平方向上受到的力 (填“平衡”或“不平衡”)。如果要避免这种现象产生,请你对该实验装置提出改进意见:;
(3)某同学认为:物体在平衡力的作用下,其机械能可能会增大。你认为他的观点是 (填“正确”或“错误”)的。请举例证明你的观点 。发布:2024/7/30 8:0:9组卷:10引用:2难度:0.6 -
3.某小组用如图所示装置探究“二力平衡的条件”,每个钩码质量均为50g。

(1)如图甲所示,小组同学在左边和右边各挂一个钩码,这时木块保持静止,细心的小明在实验时发现,若左边挂一个钩码,右边挂两个钩码时(图中未画出),木块仍然保持静止状态,这时木块在水平方向受到的力 (选填“平衡”或“不平衡”)。
(2)经过思考与交流后,实验小组决定改进实验设计。小明同学设计了如图乙所示实验装置,保持F1与F2相等,用手将小车移动到靠近左边的滑轮处,此时左边砝码比右边砝码低(图中未画出),放手时小车会 。(选填“静止”、“向左运动”或“向右运动”)
(3)小丽同学用轻质卡片设计了如图丙所示实验装置,她认为图丙的实验装置更好,原因是丙装置更能减小 的影响。在图丙所示装置中,在左边和右边各挂一个钩码后,将小卡片转动一小角度,松手后,小卡片旋转后又恢复原状,这表明相互平衡的两个力需要 。
(4)为了探究猜想“只有作用在同一物体上的两个力才能平衡”,如果利用如图丙所示装置进行实验,下一步的操作是 。发布:2024/8/2 8:0:9组卷:93引用:2难度:0.5

