2022年四川省攀枝花市中考物理试卷
发布:2025/12/2 14:0:7
一、单项选择题(本题共10小题,每小题3分,共30分。每小题只有一个选项最符合题目要求)
-
1.如图所示,在试管内装水,用带玻璃管的胶塞塞住,加热使水沸腾,水蒸气会驱动玻璃管口的叶轮转动,下列说法错误的是( )组卷:56引用:3难度:0.8 -
2.关于家庭电路和安全用电,下列说法正确的是( )
组卷:34引用:4难度:0.6 -
3.下列由学校生活联想到的物理知识中,错误的是( )
组卷:403引用:36难度:0.9 -
4.2020年12月26银西高铁正式开通,如图所示。高铁上的每节车厢都有两间洗手间,只有当两间洗手间的门都关上时(每扇门的插销都相当于一个开关),车厢中指示牌内的指示灯才会发光提示旅客“洗手间有人”。能实现上述设计的电路图是下列选项中的( )
组卷:97引用:4难度:0.5 -
5.如图所示,小华吃雪糕时,看到雪糕周围冒“冷气”,由此她联想到了烧开水时壶嘴冒“热气”的情景。下列说法中正确的是( )组卷:331引用:2难度:0.7 -
6.声纹锁能区分不同的人发出的声音,主要是依据声音的( )
组卷:32引用:2难度:0.7 -
7.在第十七届“渝洽会”上,重庆造恩斯特龙480B型直升机(如图所示)签下了20架大订单。该型直升机在加速上升的过程中(忽略燃油变化),下列关于直升机的动能和势能变化情况的描述。正确的是( )组卷:674引用:51难度:0.9 -
8.我国第一批赴亚丁湾海域护航的海军舰队已圆满完成护航任务凯旋归来。在我国自主建造的旗舰“武汉号”上,装备有我国最新研制的“北斗二号”卫星导航仪,它可以通过与导航卫星“北斗二号”互相传递信息,来确定舰艇的准确位置,并在电子地图上显示出来,为舰艇准确导航,还可以让舰艇上的官兵通过可视电话与祖国亲人互致问候。以下说法正确的是( )
组卷:40引用:4难度:0.9 -
9.下列光现象说法中错误的是( )
组卷:16引用:1难度:0.8 -
10.小明沿水平方向推箱子前行,推力为F,如图甲所示。推箱子过程中,其F-t和v-t的图像分别如图乙、丙所示。则下列判断正确的是( )
组卷:323引用:5难度:0.7
二、多项选择题(本题共2小题,每小题4分,共8分。每小题有一个以上选项符合题目要求。全部选对得4分,选对但不全得2分,有错选的不得分)
-
11.用如图所示滑轮组匀速提升重为270N的物体时,绳子自由端的拉力100N,物体在5s内上升1m,忽略绳重和摩擦,下列说法正确的是( )组卷:16引用:1难度:0.5 -
12.如图,电源两端电压保持不变,闭合开关S,在滑动变阻器的滑片P向右移动的过程中,下列说法正确的是( )组卷:1109引用:4难度:0.5
三、填空、简答与作图题(除有特殊说明的题外,每空1分,共19分)
-
13.小丽同学家电饭煲上的铭牌模糊不清,她想利用标有“3000revs/(kW•h)”字样的电能表测量电饭煲的功率。她断开家中的其他电器,只将电饭煲接入电路,测得电能表在1min内转了60圈,则电饭煲消耗的电能是
J。组卷:31引用:4难度:0.9 -
14.如图所示,物体重210N,动滑轮重25N.工人用125N的拉力将物体匀速提升3m,用了10s,此过程中有用功是J,拉力的功率是W,滑轮的机械效率是,克服动滑轮重所做的额外功占总功的%。组卷:1322引用:16难度:0.7 -
15.甲、乙两种液体的质量与体积关系如图所示。甲液体的密度是 kg/m3;2cm3的乙液体质量为 g;密度为0.8×103kg/m3酒精的质量与体积关系图象应在 (选填“Ⅰ”“Ⅱ”或“Ⅲ”)区。组卷:39引用:1难度:0.6 -
16.两个站在水平冰面上静止不动的滑冰者,当一个人用手推另外一个人时,两人将滑行;如下图所示,当人用手推另一艘小船时,他所乘坐的小船也将,这些现象都说明。
组卷:42引用:5难度:0.9 -
17.甲、乙两车在某平直公路上,从同一地点同时向西运动,它们的s-t图象如图所示,则:甲的速度是 m/s,乙的速度是 m/s,推断10s后甲、乙相距 m。组卷:32引用:3难度:0.7 -
18.厨师在爆炒肉片时,先把淀粉拌入肉片中,再放入热锅里爆炒,在炒肉片过程中,肉片内能改变是通过 途径实现的;附近能闻到肉香,这是 现象。
组卷:8引用:3难度:0.8 -
19.如图所示,F是透镜的焦点,a、b是烛焰发出的两条光线,a与两焦点的连线平行,b经过透镜中心。请作出两条光线通过透镜之后的光路图。组卷:114引用:4难度:0.7 -
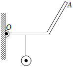
20.如图所示,轻质杠杆OA可绕O点在竖直平面内转动,请在图示位置画出小球所受重力G和使杠杆保持平衡的最小力F的示意图,并简述F的作图依据。组卷:245引用:3难度:0.7
四、实验、探究题(除有特殊说明的题外,每空1分,共27分)
-
21.如图所示,四块相同的砖叠放在水平地面上,对地面压强为p,若将上面两块拿走,剩下两块对地面压强是 ;若将右边两块拿走,剩下两块对地面压强是 ;若将右边两块再叠放在左边两块上,四块砖对地面压强是 。组卷:507引用:4难度:0.5 -
22.如图甲是用伏安法测未知电阻R的实物电路图。

(1)请用笔画线代替导线,将图甲中实物电路连接完整。
(2)闭合开关,将滑片P向左滑动时,此时电压表示数为2.4V,电流表示数如图乙所示,其读数为I=A,则未知电阻R=Ω。组卷:58引用:1难度:0.7 -
23.小涛同学利用带水透镜的光具座研究近视眼和远视眼的矫正原理。

(1)如图所示,烛焰的像清晰地呈现在光屏上,光屏相当于人眼中的 (选填“晶状体”或“视网膜”)。
(2)如果给水透镜注水,光屏上的像变得模糊。若在水透镜前加一个合适的 (选填“凸”或“凹”)透镜,光屏上的像会变得清晰,这就是 (选填“近视”或“远视”)眼的矫正原理。组卷:408引用:3难度:0.6 -
24.使用温度计时,首先要观察它的量程和认清它的 。小强在用温度计测量烧杯中液体温度时读取了四次数据,每次读数时温度计的位置如图1所示,其中正确的是 。图2中所示的是用温度计分别测得的冰和水的温度,那么冰的温度是 ℃,水的温度是 ℃。
组卷:472引用:9难度:0.8 -
25.图甲是用海波“探究固体熔化时温度的变化规律”的实验装置。

(1)组装器材时,应先固定图甲中的 (填“A”“B”或“C”)。
(2)开始实验后,某一时刻温度计的示数如图甲所示,温度为 ℃。
(3)根据实验数据绘制的海波熔化时温度随时间变化图象如图乙所示,由图象可知海波的熔点是 ℃,海波熔化持续了 min。
(4)由实验知,到晶体的熔化特点是 。
(5)由实验可知,晶体的温度是熔点时,可能处于 (填字母)态。
A.固
B.液
C.固液共存组卷:16引用:4难度:0.6 -
26.在一次跨学科实践活动中,小李对家中常用的电热水器(图甲)进行了探究。热水器铭牌如图乙所示,工作原理图如图丙所示[已知水的密度为1.0×103kg/m3,水的比热容为4.2×103J/(kg•℃)]。

(1)此电热水器处于“加热”挡工作时,双掷开关S应置于 (选填“1”“2”或“中间”)处。贮水式电热器
型号:V-50
额定容量:50L 额定压强:0.6MPa
额定电压:220V 额定加热功率:2000W
额定频率:50Hz 额定保温功率:200W
(2)电热水器使用不当会有火灾、漏电、爆炸等安全隐患。为了保障安全,小李首先认真阅读了使用说明书,并对一些重要的注意事项作出了如下分析,你认为他的分析不合理的是 。
A.电热水器必须安装地线,一旦漏电可以让电流沿地线流走
B.泄压阀出现滴水,一定要把它堵住,否则会发生漏电事故
C.热水器内水过少会出现干烧,容易损坏电热管而引起火灾
(3)小李家的电能表上标有“1200r/(kW•h)”字样,他断开其它用电器,只让该电热水器处于加热状态单独工作2min,电能表转盘转过80转,若电费单价为0.6元/(kW•h),加热33min后即可淋浴,该过程所花电费为 元。
(4)此电热水器在加热状态下正常工作时,将内胆中50L的水从20℃加热到40℃,用了40min时间,则其加热效率为 %。组卷:390引用:2难度:0.5
五、计算题(每小题8分,共16分)
-
27.把重为2N的橡皮泥捏成瓢状,就成一只橡皮泥船了。把它轻轻放在装有0.5kg水的容器的水面上,就可以漂浮着(如图),这时,液面到容器底面的距离为0.2m。容器的底面积是0.01m2。(ρ水=1.0×103kg/m3,g取10N/kg。)
求:①橡皮泥船受到的浮力为多大?
②橡皮泥船排开水的体积是多大?
③如果把橡皮泥船从容器中取出。那么,水对容器底部的压强是变大,还是变小,还是不变?说出你的依据是什么?组卷:195引用:1难度:0.5 -
28.如图所示。电源电压为72V,R1为定值电阻,R2为发热电阻丝改成的滑动变阻器,其上标有“200Ω 3A”的字样,电流表A1的量程为0~0.6A,电流表A2的量程为0~3A,灯泡上标有“12V3W”的字样。求:
(1)灯泡正常工作时的电流是多大?
(2)闭合S,断开S1、S2,灯泡正常工作,R1的阻值多大?
(3)S、S1、S2均闭合时,R2上消耗电功率的最小值和最大值分别为多少?组卷:137引用:8难度:0.3

