2023年山东省泰安市泰山区中考物理模拟试卷
发布:2025/11/10 18:0:15
一、选择题(本题共15题,共45分。以下每题各只有一个正确答案,选对得3分;多选、错选均不得分。)
-
1.如图所示当开关闭合后,发现小灯泡不亮,电压表无示数,电流表有示数,则故障可能是( )组卷:684引用:2难度:0.6 -
2.如图所示为发电机模型线圈转动过程,下列说法正确的是( )组卷:239引用:2难度:0.6 -
3.同一物体在甲、乙两种不同的液体中的情况如图所示,比较物体在两种液体中受到的浮力和两种液体的密度大小,则正确的是( )组卷:514引用:10难度:0.7 -
4.现有“6V 3W”的灯泡L1和“6V 6W”的灯泡L2,将他们接入电路中,不考虑灯丝电阻的变化,下列关于两只灯泡的说法正确的是( )
组卷:1200引用:40难度:0.9 -
5.用水平风吹如图所示的四个模型,其中空气对模型下表面的压强小于上表面的压强的图是图( )
组卷:85引用:14难度:0.9 -
6.小岩同学利用天平和量筒测酸奶的密度,下列操作步骤中多余的是( )
组卷:1157引用:51难度:0.7 -
7.一氢气球下面用细绳吊着一物体竖直上升的过程中,气球突然爆破,站在地面上的人,看到气球下面的物体的运动是( )
组卷:1450引用:6难度:0.7 -
8.如图所示,AB为光滑弧形槽,滑槽底部与光滑水平面平滑连接,一个小球从滑槽A处由静止开始下滑,运动到C处挤压弹簧,D处为弹簧被挤压到最短长度。则针对此过程下列分析正确的是( )组卷:77引用:1难度:0.8 -
9.关于安全用电,下列选项中正确的是( )
组卷:16引用:1难度:0.8 -
10.小灯泡的结构如图所示,按如图的连接方式能够让小灯泡发光的是( )
组卷:130引用:4难度:0.7 -
11.下列光现象与其成因对应正确的是( )
组卷:26引用:3难度:0.8 -
12.某家用电器正常工作时的电流约为1安培,则它可能是( )
组卷:140引用:3难度:0.8 -
13.泸州自古有历史文化名城和旅游城市之称,有着许多让人印象深刻的美食、文化、旅游资源。下列说法正确的是( )
组卷:26引用:1难度:0.8 -
14.琴和瑟是我国传统的两种乐器,人们能区分出琴和瑟的声音,是依据声音的( )
组卷:104引用:1难度:0.8 -
15.一束平行光正对凸透镜照射时,在凸透镜另一侧距凸透镜中心10cm的地方出现一个小亮点,那么把点燃的蜡烛放在光具座上距凸透镜15cm的地方,在凸透镜另一侧移动光屏,在光屏上就可以得到( )
组卷:40引用:12难度:0.7
二、填空题(每空2分,共8分)
-
16.2022年10月31日,长征五号B遥四运载火箭成功将我国空间站第三个舱段,也是我国迄今为止发射的最重载荷——梦天实验舱发射至预定轨道。火箭一般使用液态氢作为燃料,是因为氢具有较高的 ;发射过程中,燃气对火箭做功,燃气的内能会 。(选填“增大”、“减小”或“不变”)
组卷:6引用:1难度:0.7 -
17.如图所示,将木块置于水平传送带上,弹簧测力计水平放置且右端固定,电动机带动传送带沿图示方向匀速转动,此时弹簧测力计示数保持稳定,木块所受的拉力与摩擦力是一对 力,摩擦力大小为 N。组卷:16引用:2难度:0.7 -
18.如图所示,A、B是两个轻质泡沫小球,C是用毛皮摩擦过的橡胶棒,A、B、C三者之间相互作用时的场景如图所示,由此可以判断小球B带 电,小球A 带正电(选填“一定”或“不一定”)。组卷:418引用:7难度:0.5 -
19.在寒冷的冬季,一碗水放在室外,过一会儿水会结冰,这属于
(填物态变化名称)现象,在此过程中会(选填“吸”或“放”)热。组卷:247引用:38难度:0.7
三、作图题(每题3分,共6分)
-
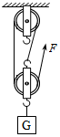
20.按要求作图
如图所示用一根细绳将杠杆AOB在O点悬挂起来,并在B处挂一重物G,欲在杠杆上施加一最小动力F1,使其在图示位置平衡,作出最小动力F1的示意图和阻力臂L2。
组卷:668引用:3难度:0.5 -
21.如图所示,完成下列透镜的光路图。
组卷:37引用:2难度:0.5
四、实验题(第22题8分,第23题12分,共20分)
-
22.小明做“伏安法测量电阻”的实验:

(1)连接电路时,开关应该是 的。
(2)实验求电阻的原理公式人R=。
(2)如图1所示,当小明准备闭合开关开始实验时,同伴小桂提醒他还有一处不妥当,其不妥当之处是:滑动变阻器的滑片没有移到 。
(3)闭合开关后发现电流表无示数,电压表的示数接近于电源电压出现故障的可能是 。
(4)排除故障后,调节滑动变阻器,当电压表读数为2.5V时,电流表的示数如图2所示,其示数为 A,该定值电阻的阻值是 Ω。组卷:13引用:2难度:0.3 -
23.某同学用如图所示的实验装置测量滑轮组的机械效率,相关数据记录在下表中。
(1)实验中,使用滑轮组提升重物时,应竖直向上 拉动弹簧测力计。实验
次数钩码重/N 钩码上升的
高度/cm绳端的
拉力/N绳端移动的
距离/cm机械效率 1 4 10 1.8 30 74% 2 6 10 2.5 30 80% 3 6 15 2.5
(2)第二次实验中,拉力所做的额外功为 J。
(3)第三次实验中,绳端移动的距离为 cm,滑轮组的机械效率为 。
(4)分析比较第一、二两次实验数据可知,采用 的方法来提高滑轮组的机械效率;分析比较第二、三两次实验数据可知,滑轮组机械效率与物体上升高度 (选填“有关”或“无关”)。组卷:13引用:2难度:0.5
五、计算题(第24题9分,第25题12分,共21分,解答时应写出必明,公式和重要的计算步骤,只写出最后答案的不能得分)
-
24.拥有我国自主知识产权的C919大型客机在上海浦东机场成功首飞.若客机在空中以720km/h的速度沿水平直线匀速飞行5分钟,受到的阻力是其重力的0.1倍;客机发动机靠完全燃烧航空煤油提供能量,其机械效率为75%;已知客机质量m=7.5×104kg.(g=10N/kg)
(1)求客机在这段时间内通过的路程和发动机的功率。
(2)求发动机在这段时间内燃烧航空煤油的质量.(假设航空煤油的热值q=5×107J/kg)组卷:35引用:1难度:0.5 -
25.空气炸锅可实现“无油烹饪,更加健康”的烹饪理念。它的主要电路由电风扇和电热丝组成。工作时,电热丝将空气加热,风扇让高温空气在一个密闭空间内形成循环热流,使食物迅速变熟并达到煎炸的效果。某品牌空气炸锅有高低温两挡功率,其主要技术参数如表所示,简化电路图如图所示,把1.5kg的薯片放入炸锅,用高温挡工作10min,薯片由20℃升高到120℃。忽略薯片在加热过程中的质量变化,且薯片的比热容保持2.4×103J/(kg•℃)不变,求:
(1)薯片吸收的热量。产品技术规格 频率 50Hz 额定电压 220V 风扇电动机功率 110W 加热电阻R1的阻值 48Ω 加热电阻R2的阻值 40Ω
(2)通过电动机线圈的电流。
(3)炸薯片消耗的电能。组卷:165引用:3难度:0.5

