2024-2025学年山东省菏泽市部分县市九年级(上)期中物理试卷
发布:2025/11/6 21:0:20
一、选择题(本题共12小题,每小题2分,共24分。每小题只有一个选项符合题意,用铅笔把答题卡上对应题目的答案标号涂黑,选对的得2分,多选、错选均不得分)
-
1.如图所示,是电学中常见的电路图,在A、B两点间分别接入下列选项中加点字的元件,并进行对应实验,对滑动变阻器在此实验中的作用描述正确的是( )组卷:153引用:6难度:0.7 -
2.如图所示的电路,要使两个小灯泡L1,L2串联,应( )
组卷:258引用:3难度:0.9 -
3.下列现象中,改变物体内能的方式跟其他几个不同的是( )
组卷:33引用:1难度:0.5 -
4.下面关于生活中的物理知识,错误的是( )
组卷:35引用:4难度:0.9 -
5.如图所示,当开关S1、S2闭合,S3断开时,电流表A1的示数为0.5A,电流表A2的示数为0.3A,下列说法正确的是( )组卷:169引用:4难度:0.5 -
6.下列关于温度、内能和热量的说法,正确的是( )
组卷:242引用:4难度:0.6 -
7.如图所示,将发光二极管LED接入电路中,闭合开关,发现LED发光。下列说法正确的是( )组卷:1074引用:3难度:0.7 -
8.从分子的角度解释下列现象,错误的是( )
组卷:33引用:4难度:0.9 -
9.关于如图所示的四个实验,下列说法正确的是( )
组卷:44引用:4难度:0.6 -
10.某品牌滚筒洗衣机,筒门处有开关S1,筒门关闭时S1闭合,筒门打开时S1断开。筒门开关S1和控制开关S2必须同时闭合时,洗衣机才能工作。下列符合要求的电路模型是( )
组卷:2808引用:49难度:0.9 -
11.关于热机下列说法正确的是( )
组卷:508引用:7难度:0.7 -
12.给电瓶车的蓄电池充电时,蓄电池相当于( )
组卷:179引用:7难度:0.9
二、填空题(本题共6小题,每空1分,共12分。把答案用黑色签字笔写在答题卡相应位置)
-
13.小东同学由于经常玩手机,发现自己的视力严重下降,经眼科医生检查后,小东被确诊为近视眼。近视眼看远处的物体时,像成在视网膜的 (选填“前方”或“后方”);如图所示的两幅示意图中,表示矫正近视眼的原理图的是图 (选填“甲”或“乙”)。组卷:20引用:1难度:0.5 -
14.从显像管尾部的阴极发射出来的电子,高速撞击到荧光屏上,使荧光屏发光,则该电子束的电流方向是
流向。组卷:112引用:8难度:0.7 -
15.用图的装置演示气体扩散现象,其中一瓶装有密度比空气大的红棕色二氧化氮气体,另一瓶装有空气。为了有力地证明气体发生扩散,装二氧化氮气体的应是 (选填“A”或“B”)瓶。根据 现象可知气体发生了扩散。扩散现象说明气体分子 。若实验温度分别为①0℃,②4℃,③20℃,④30℃.则在 温度下(填序号)气体扩散最快。组卷:824引用:74难度:0.9 -
16.我们每天都在产生大量垃圾,合理分类和利用垃圾是我们面临的一个重大课题。某垃圾处理厂处理垃圾时提炼出了150kg燃料油,若燃料油的热值为4.0×107J/kg,则这些燃料油完全燃烧放出的热量为,燃料油燃烧的过程中,热值(选填“变大”“变小”或“不变”)。
组卷:79引用:5难度:0.6 -
17.如图所示,甲、乙是课堂上看到的两个演示实验示意图;丙、丁是四冲程汽油机工作过程中的其中两个过程示意图。利用内能来做功的冲程是 图,为了降低汽油机汽缸的温度,汽缸外有一个水箱体,使汽缸被水包围着,这是通过 的方式减少汽缸内能的。
组卷:7引用:1难度:0.8 -
18.一段裸铜丝,对折起来扭成一股,它的电阻将变小,这是因为:(1);(2)。
组卷:10引用:1难度:0.8
三、作图与实验探究题(本题共4小题,其中19题4分,其余每空1分,共24分。按题目要求在答题卡上相应位置作答)
-
19.在如图电路中,有三根导线尚未连接,请用笔画线补上。要求:电压表测小灯泡两端电压;闭合开关,向左移动滑动变阻器的滑片时,小灯泡变亮。组卷:12引用:6难度:0.7 -
20.某小组同学利用如图所示电路探究串联电路中的电压关系。
(1)下列操作不正确的是 。
A.连接电路时,开关S处于断开状态
B.连接电压表时,试触后再选择合适量程
C.将电压表A接点连线转接至C接点,测量L2两端电压
(2)测量灯泡L1两端电压时,两灯突然熄灭,电压表示数变为0,若故障可能是由某只灯泡“短路”或“开路”引起的,则发生故障的灯泡及故障类型是 。
(3)该小组同学用电阻箱代替故障灯泡,继续进行实验,记录数据如下表所示。
分析表中实验数据,在误差允许范围内,可得出的结论是 。实验次数 UAB/V UBC/V UAC/V 第1次 0.8 2.0 2.8 第2次 1.0 1.8 2.8 第3次 1.4 1.4 2.7
A.串联电路中各处电流相等
B.灯泡阻值随灯泡两端电压增大而增大
C.串联电路中电阻值越大的部分两端电压越大
D.串联电路两端的电压等于各部分电路两端的电压之和组卷:1059引用:3难度:0.5 -
21.小明在探究“影响导体电阻大小的因素”时,猜想导体的电阻可能与下列因素有关:
A.材料
B.长度
C.横截面积
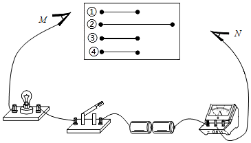
为了验证上述猜想,小明用如图所示的器材进行实验,其中①②③是镍铬合金丝,④是锰钢合金丝。①③④长度相同,①②④横截面积相同。
(1)实验中,在M、N之间接上不同的导体,闭合开关后通过观察 来比较导体的电阻大小。
(2)为了验证猜想A,应选用编号为 的两根金属丝分别接入电路进行实验。组卷:2引用:1难度:0.7 -
22.某同学学习了燃料的热值后,自己设计了一个实验来探究煤油和菜籽油的热值大小关系。他实验时组装了如图所示的两套规格完全相同的装置,并每隔1分钟记录了杯中水的温度(见表)。

(1)在安装、调整实验器材时,科学合理的顺序是(甲图中):先调整固定的位置,再调整固定的位置(选填“A”或“B”)。加热的时间/min 0 1 2 3 4 5 6 甲杯水温/℃ 25 27 29 32 34 36 38 乙杯水温/℃ 25 26 27 28 29 30 31
(2)为保证实验结论的可靠,实验时应控制两套装置中相同的量有加热时间和水的、。
(3)通过表中记录本的数据,你认为煤油和菜籽油两种燃料中,热值较大的是。组卷:121引用:14难度:0.3
四、计算题(本题共2小题,每题5分,共10分。用黑色签字笔在答题卡相应位置作答。
-
23.如图甲所示,当开关S闭合时,两只电流表A1A2的示数分别如图乙所示。
(1)电流表A1、A2使用的量程和读数分别是多少?
(2)通过灯泡L1、L2的电流分别是多少?组卷:44引用:1难度:0.7 -
24.用天然气灶烧水,燃烧0.1m3的天然气,使10kg的水从20℃升高到70℃。(天然气热值3.2×107J/m3)求:
(1)天然气完全燃烧放出热量。
(2)水吸收的热量。
(3)天然气灶的效率。(计算结果保留两位小数)组卷:10引用:3难度:0.6

