北师大版八年级下册《8.1 压强》2022年同步练习卷
发布:2025/10/27 23:0:20
一、选择题
-
1.制陶中有个制作土坯的阶段,小金把两个均匀圆柱体土坯甲和乙放置在水平地面上,它们对地的压强相同。现沿水平虚线切去上部后,使甲、乙剩余部分的高度均为h,如图,则此时甲、乙对地面的压强p甲、p乙和压力F甲、F乙的关系是( )组卷:637引用:2难度:0.5 -
2.在“探究影响压力作用效果的因素”实验时,某同学做了如图所示的实验,下列说法正确的是( )
组卷:353引用:4难度:0.7 -
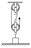
3.利用如图所示的装置,可以用150N的拉力拉着重为350N、棱长为0.2m的正方体匀速上升,物体在10s内上升了1m,不计绳重和摩擦,则( )组卷:28引用:2难度:0.4 -
4.如图所示,水平桌面上放着底面积相等的甲、乙两容器,分别装有同种液体且深度相同,两容器底部所受液体的压力、压强分别用F甲、F乙、p甲、p乙表示,则( )组卷:4499引用:68难度:0.5 -
5.如图所示,甲、乙两个实心均匀正方体分别放在水平地面上,它们对地面的压强相等。下列说法正确的是( )
①甲的密度小于乙的密度
②若在正方体的上部,沿水平方向分别截去相同体积,则剩余部分对地的压强p甲>p乙
③若在正方体的上部,沿竖直方向分别截去相同质量的部分,则剩余部分对地的压强p甲=p乙
④若在正方体的上部,分别放相同质量的物块,则甲、乙两个正方体对地的压强p甲>p乙组卷:1182引用:4难度:0.5 -
6.2023年是兔年,兔首铜像(如图所示)是北京圆明园西洋楼海晏堂十二生肖铜像之一,当它自由放在水平面上静止时,下列说法正确的是( )组卷:277引用:16难度:0.8 -
7.下列各种事例中,属于增大压强的是( )
组卷:128引用:2难度:0.6 -
8.某学校在开展研学活动过程中,拍摄了如图所示的各种实物,其中为了减小压强的是( )
组卷:23引用:1难度:0.6
二、填空题
-
9.如图所示,物体A在水平推力F的作用下,从甲图位置匀速运动到乙图位置。在此过程中,A对桌面的压力将 ,A对桌面的压强将 (填“变大”、“不变”或“变小”)。
组卷:1810引用:217难度:0.7 -
10.质量为600g的正方体木块,一个面的面积为10-2 m2,放在表面积为1m2的水平桌面中央,则木块对桌面的压力为
N,对桌面的压强为Pa。组卷:1227引用:3难度:0.5 -
11.压强的定义:物体
受到的压力(P).压强公式:。压强的国际单位:,简称(Pa)。组卷:11引用:1难度:0.9
三、作图题
-
12.请画出压力一定时压强与受力面积的关系图像。
组卷:79引用:2难度:0.7 -
13.如图重4.5N的足球从斜面上加速滚下,请在该图中画出此过程中足球受到的重力和对斜面压力的示意图。组卷:72引用:11难度:0.7
四、实验探究题
-
14.如图,一个长方体小木块平放在水平桌面上,要测出它对桌面的压强,老师提供的器材有:直尺、天平、量筒。请你选择实验器材,完成下列实验步骤。
(1)测出小木块与桌面的接触面积:用测量小木块的长和宽,再计算出它的底面积S;
(2)用测量小木块的质量m;
(3)根据上面的测量结果,写出计算小木块对桌面压强的表达式:。组卷:1003引用:7难度:0.5 -
15.小明看到医生在给病人输液时,手指轻弹输液管,有气泡向上运动,但他发现气泡在不同位置上升的快慢是不同的,气泡上升的速度与哪些因素有关呢?为了探究气泡运动速度与倾斜角的关系,小明使用如图1所示的装置进行实验,测出玻璃管在不同倾斜角下气泡运动的速度,情况如表:
液体:自来水液柱长度:30cm气泡长度:4.1mm
根据上述数据。请回答下列问题:与竖直方向的夹角θ/度 85 75 65 55 45 35 25 15 5 0 气泡运动时间t/s 32.3 20.0 15.3 12.5 11.6 11.8 12.5 14.5 19.5 25 平均速度v/(cm⋅s-1) 0.93 1.50 1.96 2.40 2.59 2.54 2.40 2.07 1.54
(1)当θ角为0度时,气泡运动的平均速度是cm/s。
(2)请根据记录的数据在图2中先描点。再用平滑的曲线画出速度随倾斜角θ的图象。
(3)随θ角的减小气泡运动速度是先变后变(选填“大”或“小”);在θ角为度时气泡运动的平均速度最大。
(4)你还可进一步探究气泡运动速度与关系。组卷:30引用:3难度:0.4
五、计算题
-
16.某品牌新型汽车的质量为2t,该汽车以20m/s的速度在水平路面上做匀速直线运动,此时发动机的牵引力为2000N,该车每行驶100km消耗汽油8L。汽油的密度ρ=0.7×103kg/m3。(忽略空气阻力,g取10N/kg)
(1)该汽车静止在水平路面上时,车对路面的压力是多少?
(2)该汽车以20m/s的速度在水平路面上做匀速直线运动时,受到的摩擦力为多大?
(3)该汽车装满货物时,更难加速或停下来,这是因为 。
(4)请计算8L汽油受到的重力大小。组卷:73引用:2难度:0.6 -
17.飞机的发动机是一种热机,通过航空煤油在气室中燃烧,从喷口向后高速喷出气体,使发动机获得向前的推力,高空中某飞机获得1.6×105N的水平推力,以600km/h的速度沿水平方向匀速航行1h,需要完全燃烧热值为4×107J/kg的航空煤油4000kg。求1h内:
(1)飞机的航程;
(2)发动机所做的功;
(3)航空煤油完全燃烧放出的热量;
(4)发动机的热机效率。组卷:893引用:71难度:0.7

